微信公众号
|
关于我们
|
返回首页
首页
公司概况
公司简介
公司荣誉
组织架构
新闻中心
公司要闻
通知公告
子公司概况
项目建设
党建工作
企业文化
政策法规
招标信息
当前位置 : 详细内容
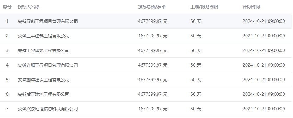
爱谱华顿6G智慧传输生产基地需求调整项目——开标记录
文章来源: 本站原创 发布时间:2024-10-21 浏览:
837
次
招标信息
招标信息